News regarding the latest in Apple’s line of patents have started concentrating on the display technology and the way to bring it to a more advanced usage level. The latest seems more than futuristic, changing the overall design while adding some features that seem highly useful.
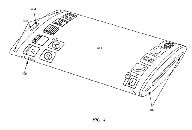
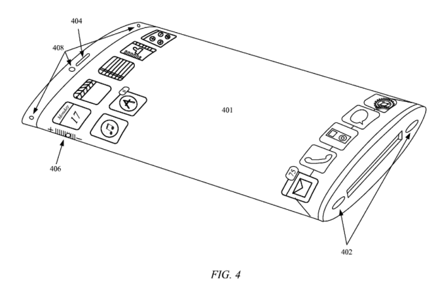
The new Apple patent in regards to a display technology with chances to be implemented in tomorrow’s iPhone devices refers to a flexible grass component that is raped around the shape of the device, offering controls on the front as well as the back. The touch-sensitive glass shape looks like it can be used on the new gen iPod as well as the smartphone and offers built-in facial recognition as a main feature. The panel is made out of multiple layers in order to achieve a special effect that may create the illusion of a HUD type interface.
The Apple display technology that could see an implementation in the iPhone 6 or 7 is made so that it revolutionizes the entire smartphone experience and the way the user interacts with its device. The multiple panel grid for the screen is able to create a 3D effect and the sensation that the screen is way bigger than it actually is. It also integrates a new touch response mechanism, that is able to recognize only the gestures you wish to be registered, without acting on accidental inputs. Though the technology may be far from an actual implementation, it’s good to now that some unsurpassed experiences are on their way.







